Признаки поломок
Вторые же можно назвать расходным материалом. Их срок службы, в среднем, составляет не более сорока тысяч километров. Чтобы увеличить этот показатель необходимо ездить только по ровной поверхности и водить авто очень бережно.
Итак, давайте рассмотрим основные признаки поломки, которые могут привести автомобиль в неисправность.
![]()
- Люфт – явный признак. Если при движении на невысоких скоростях вы начали замечать, что колеса вашей машины поворачивают не в соответствии с поворотом руля, то вам необходимо проверить рулевой механизм. Это следует выполнить неотложно, наличие люфта может привести к самым худшим последствиям.
- Отдача в руль. Если при езде вы начали замечать сильное биение руля – это также звоночек для проверки рулевой тяги и наконечников.
- Появление нештатных звуков. Если повреждается пыльник, то пыль проступает и оседает на место соединения. Таким образом, при работе этого элемента появляются звуки. В дальнейшем такие условия могут привести к преждевременному износу этих деталей.
Очень важно вовремя реагировать на появление внештатных отклонений в работе своего автомобиля. Постарайтесь уделить диагностике как можно больше времени
Такое отношение позволит вам сохранить свое авто и его составляющие на долгое время.
Процесс замены рулевых наконечников. Вступление и инструменты
К выполнению работ по замене рулевых наконечников необходимо подойти ответственно, ведь езда с неисправными наконечниками может привести к печальным последствиям
Также следует обратить внимание и на крепления самих наконечников к поворотным кулакам
Крепления наконечников к поворотным кулакам бывают двух типов:
- устанавливаемые шпилькой вниз в поворотный кулак — закрытого типа (с закрытым внешним корпусом, не имеющего гайки сверху);
- устанавливаемые шпилькой наверх — открытого типа (с внешним корпусом, оснащенным фиксирующими гайками).
В зависимости от того, какой тип наконечников установлен на автомобиле будет варьироваться и набор необходимых инструментов. Так, для наконечников закрытого типа, устанавливаемых шпилькой вниз в поворотный кулак, потребуется специальный съемник, работая которым наконечник можно будет легко «выдавить» из поворотного кулака. Некоторые умельцы обходятся без съемника, орудуя молотком, но от подобных манипуляций лучше воздержаться.
Итак, для замены выполнения работ потребуется следующий набор инструментов:
- домкрат;
- балонный ключ;
- набор рожковых ключей и торцевых головок;
- смазка WD-40 или другая аналогичная;
- корщетка;
- съемник (для наконечников закрытого типа);
- молоток (на всякий случай).
Процесс замены рулевых наконечников. Выполнение работ
В первую очередь повторяем манипуляции указанные выше (как при диагностике наконечников), а именно — домкратим автомобиль с необходимой стороны и вывешиваем колесо. Затем балонным ключом откручиваем колесо и снимаем его, доступ к наконечнику, рулевой тяге и кулаку свободен.
Теперь используем корщетку и тщательно очищаем места крепежных гаек на тяге и наконечнике, после чего наносим на них смазку WD-40 или любой другой жидкий ключ. Выжидаем несколько минут и начинаем откручивать гайку со стороны рулевого тяги.
ВНИМАНИЕ ! Для откручивания стопорящей гайки на рулевой тяге нужно дополнительно зафиксировать её вторым ключом (на тяге есть отдельное несъемное крепление для этого). Гайку, стопорящую рулевой наконечник следует открутить ровно на 1-1.5 оборота и запомнить её месторасположение. Это необходимо, чтобы установить новый наконечник и соблюсти хотя бы примерные показатели сход-развала.
Это необходимо, чтобы установить новый наконечник и соблюсти хотя бы примерные показатели сход-развала.
Далее — в зависимости от типа наконечников откручиваем фиксирующие их гайки. С наконечниками открытого типа, устанавливаемыми шпилькой вверх все просто. Достаточно только отвернуть крепежную гайку, после чего путем постукивания молотком по шпильке и небольшого покачивания поворотного кулака извлекаем шарнирную часть наконечника. После чего остается лишь открутить сам рулевой наконечник с рулевой тяги.
На наконечниках закрытого типа (с гайкой снизу) процесс извлечения шарнирной части из поворотного кулака очень похож: сначала немного отвинчиваем гайку и в это месте (между гайкой и кулаком) вставляем язычок съемника. Нижней частью съемник упирается в саму шпильку и во время его закручивания происходит как бы выдавливание наконечника из кулака. Если же съемника нет, то гайку необходимо открутить полностью, после чего с помощью молотка начать покачивать и выстукивать поворотный кулак, постепенно вытягивая шарнирную часть из кулака. Как только наконечник будет извлечен из кулака — откручиваем его от тяги, на этом процедура завершена.
Теперь остается лишь установить новые наконечники на место, однако перед этим необходимо измерить их длину (относительно старых). Руководствуясь полученными размерами наконечников следует подтянуть или наоборот — ослабить фиксирующую наконечник гайку на рулевой тяге. В остальном процесс установки новых рулевых наконечников абсолютно идентичен их снятию: повторяем все в обратном порядке и закручиваем все гайки. Процедура окончена, после этого необходимо отправится на стенд и выполнить манипуляции по сходу-развалу.
Как устранить поломку
На большинстве реек есть регулировочная гайка. Именно ее настраивают, чтобы убрать люфт в рулевой рейке. Регулировку можно сделать с нижней части автомобиля или же через верх из‐под капота, в зависимости от того, где расположен винт или гайка на рейке. Обычно они находятся в торцевых крышках. Лучше, чтобы был гараж с ямой. Но если нет таких условий, тогда нужно домкратить переднюю часть авто.
Когда люфт оказывается выше нормы (более 10), нужно поднять автомобиль и сделать следующие:
- найти регулировочный болт либо гайку и медленно подтянуть ее;
- крутить винты нужно медленно, периодически проверяя свободный ход.
- после подтяжки глянуть, как вращается руль. Если он тугой, регулировочный болт отпустить на полоборота.
Таким образом можно самостоятельно убрать люфт в рулевой рейке. Это, конечно, не полноценный ремонт, и в случае износа шестерни или зубьев руль не будет вращаться, как на новом автомобиле. Но ближайший год‐полтора можно ездить без проблем.
Если после регулировки свободный ход все равно остался, выполните диагностику. Если руль «ходит» при выключенном моторе, осмотрите все элементы рулевого управления. Это могут быть:
- изношенные наконечники;
- вышедшие из строя крестовины в рулевой колонке;
- выработанные зубья на рейке;
- увеличенные зазоры в рулевом редукторе;
- изношенные шаровые.
Износ зубьев
Если люфт ощущается в момент движения, обратите внимание на следующие моменты:
|
Признак |
Причина |
|
Увод в сторону на ходу |
Не отрегулировано схождение колес |
|
Шум при повороте руля |
Малый уровень жидкости ГУР в бачке |
|
Стуки спереди при проезде ям |
Износ наконечников |
|
Вибрации на руле |
разбалансировка дисков, либо износ шаровых |
|
Руль схватывает рывками, закусывает |
Износ рейки |
Если люфт ощущается при торможении, это могут быть:
- изношены либо сломаны ступичные подшипники;
- плохо затянуты крепления ступиц;
- слабо затянуты болты в местах крепления рулевого механизма;
- изношенные колодки либо диски.
Самая печальная причина — износ шлицов. Руль банально прокручивается на своей оси. Рейку приходится, что называется, капиталить.
Переборка рейки
При износе карданного шарнира промежуточного вала нередко можно наблюдать эффект «зубчатой шестеренки» — руль затирается при его кручении. Машина становится «ватной» на дороге, почти не слушается руля. Единственный способ победить такой люфт — заменить промежуточный вал на новый.
Рулевое управление — один из важнейших механизмов наряду с тормозной системой. Если руль имеет большой свободный ход, есть стук в передней подвеске или другие дефекты, не медлите с диагностикой. Вовремя обнаружив неисправность, можно неплохо сэкономить на ремонте, а самое главное — получить исправный автомобиль, который не влетит в отбойник на скорости, забрав не дай Бог чью‐то жизнь. Берегите себя и своевременно обслуживайте свои автомобили!
Замена боковых приводов и наконечников
- Установить автомобиль на яму или подъемник. Необходимо соблюдать технику безопасности путем установки противооткатов и дополнительных опор ( в случае использования домкрата).
- Открутить и снять колесо. Вывернуть руль до упора в ремонтную сторону для удобства замены деталей.
- Металлической щеткой очистить соединительные узлы тяг и наконечников.
- Длинногубцами отогнуть и удалить шплинт из внешнего шарнирного пальца.
- Ключом «на 22» отворачиваем гайку крепления бокового соединительного стержня к рычагу колесной цапфы.
- Установить резьбовой съемник рулевых шарниров на соединение и преодолевая усилие выпрессовать шаровый палец внешнего рулевого наконечника. В процессе выпрессовки (для более быстрого демонтажа узла) можно совершать легкие удары обратной стороной молотка по посадочному отверстию поворотного кулака.
- Используя вильчатый съемник выпрессовываем шаровой палец штанги из маятникового рычага.
- Извлекаем по аналогии левую и правую боковые тяги в сборе.
- Замените изношенную деталь в сборе в обратной последовательности.
- После сборки и затяжки крепежа необходимо выставить соответствующие углы установки колес.
Основные регулировочные работы по рулевому управлению легковых автомобилей
Рулевое управление современных легковых автомобилей практически не требует обслуживания, однако следует постоянно проверять состояние защитных чехлов шаровых шарниров, люфты в деталях рулевого привода.
В автомобилях старых конструкций могут выполняться регулировки зазоров: в подшипниках рулевого механизма и в зацеплении ролика с червяком; в рулевых механизмах реечного типа.
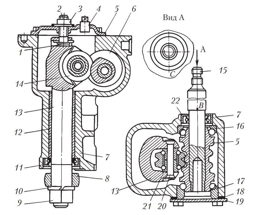
Для регулировки зазоров в подшипниках червяка рулевого механизма (рис. 12): поворачивают рулевое колесо на один — полтора оборота влево, отвертывают болты крепления нижней крышки 19 и сливают масло из картера рулевого механизма. Сняв крышку, удаляют необходимое число регулировочных прокладок 18. После этого, закрепив нижнюю крышку, снова проверяют, нет ли осевого перемещения червяка в подшипниках. При отсутствии перемещения заливают в картер масло и проверяют усилие поворота рулевого колеса (установив передние колеса на гладкой плите), которое не должно превышать 200 Н.

Рис. 12. Схема рулевого механизма типа червяк-ролик: 1 — пластина регулировочного винта вала сошки; 2 — регулировочный винт; 3 — контргайка; 4 — пробка; 5 — крышка картера рулевого механизма; 6 — червяк; 7 — картер рулевого механизма; 8 — сошка; 9 — гайка крепления сошки; 10 — пружинная шайба; 11 — сальник вала сошки; 12 — втулка; 13 — вал сошки; 14 — ролик вала сошки; 15 — вал червяка; 16, 17 — подшипники червяка; 18 — регулировочные прокладки; 19 — нижняя крышка картера; 20 — ось ролика; 21 — подшипник ролика; 22 — сальник вала червяка; В, С — метки
После проверки и устранения люфтов в деталях рулевого привода (в случае обнаружения повышенного люфта в рулевом механизме) проводят регулировку зазоров зацепления ролика с червяком. Для этого ослабляют контргайку 3 регулировочного винта 2 и, приподняв пружинную шайбу 10, завертывают регулировочный винт до установления зазора (не рекомендуется слишком затягивать регулировочный винт). Затем, придерживая регулировочный винт отверткой, затягивают контргайку. Убедившись в том, что рулевой механизм имеет допустимый люфт, проверяют усилие поворота рулевого колеса. Если оно выше 200 Н, ослабляют регулировочный винт.
Регулировку зазоров в рулевых механизмах реечного типа производят при повышенном значении люфта рулевого управления (рис. 13). В процессе эксплуатации в конструкциях рулевых механизмов реечного типа повышенный люфт может возникать из-за увеличенного зазора между рейкой и шестерней, поэтому предприятия-изготовители рекомендуют производить затяжку регулировочного винта или гайки для устранения люфта. Устранить люфт можно и регулировочным винтом, заворачивая его на 20°.

Рис. 13. Рулевое управление реечного типа автомобиля Audi: 1 — регулировочный винт; 2 — нижний вал колонки рулевого управления; 3 — хомут; 4 — крышка
В настоящее время, учитывая повышенные требования к рулевому управлению, производится не восстановление отдельных его деталей, а замена шарниров деталей рулевого управления.
Для замены шарниров рулевых тяг используют специальные съемники (рис. 14). Гайки крепления шаровых пальцев боковой и средних тяг к сошке отвертывают и выпрессовывают шаровые пальцы из отверстий сошки и рычага.

Рис. 14. Внешний вид универсального съемника для выпрессовки шаровых пальцев
Для установки нового шарнира следует очистить внутреннюю поверхность гнезда тяги под корпус шарнира и запрессовать новый шарнир в отверстие тяги до упора. Заложить в новый колпак 6…10 г смазки «Литол-24». Напрессовать колпак на шарнир с помощью универсального съемника и зафиксировать колпак на пальце стопорным кольцом.
Снимая картер рулевого механизма, отмечают количество и размещение шайб между лонжероном и картером (если они имеются), чтобы поставить их на прежнее место при установке картера. Это необходимо для сохранения соосности вала рулевого управления и вала червяка.
Запчасти и инструменты для замены
Перечислим, какие рулевые тяги подходят Икстрейл Т31.
| Производитель | Артикул | |
| Оригинальная: | Nissan | D8521-JD00B |
| Подходящие: | CTR | CRN-51 |
| Masuma | MR-N240 | |
| Lemforder | 36417 01 |
Оригинальная рулевая тяга Nissan D8521-JD00B
Неоригинальные запчасти по качеству удовлетворительные, могут безотказно прослужить от 50 000 до 100 000 км. Износ зависит от условий эксплуатации. На хороших дорогах и при аккуратной езде детали среднего качества могут прослужить и дольше. А оригинальная запчасть прослужит минимум 150 000 км. Поэтому, если оригинал доступен физически и по деньгам, не стоит скупиться.
Инструменты, которые понадобятся при замене детали:
- молоток,
- пассатижи,
- пневмогайковерт,
- резьбовый герметик,
- рожково-накидные ключи 22 и 13 мм,
- щипцы большие,
- подъемник.
При работе следует соблюдать такие моменты затяжки:
- 113 Nm – при прикручивании запчасти к рейке.
- 88 Nm – при закручивании контргайки детали.
Методы проверки рулевого управления автомобиля
Проверка рулевого управления автомобиля на слух
![]()
Прокатитесь на выбранном автомобиле по ровным и грунтовым дорогам, выключите музыку, закройте окна и прислушайтесь ко всем звукам. Посторонние бряцанья, шумы, лязг, постукивания, скрипы, хрусты сигнализируют о неисправностях машины. При расшатанном рулевом управлении:
- отчетливо слышен стук рейки — детали передней подвески изнашиваются и разбалтываются из-за низкого качества дорог;
- появляется шум при повороте колес — как правило, водитель незамедлительно ремонтирует элементы рулевого управления, потому что ездить с такой неисправностью нельзя; если же вы обнаружили шум при осмотре продаваемого автомобиля – это повод задуматься о доверии к продавцу;
- шум из-за работающего насоса (для автомобилей, на которые установлены гидроусилители) означает, что подошел конец срока его эксплуатации.
Если на ровной дороге никаких шумов вы не услышали, то прокатитесь по препятствиям — лежачие полицейские, поребрики, грунтовые дороги — и прислушайтесь к звукам еще раз.
Тормозная система и рулевое управление — самые важные в вопросах безопасности узлы автомобиля. Не жалейте времени на проверку этих деталей при покупке авто с рук.
Проверка рулевого управления автомобиля на ходу
![]()
Вам придется «отрастить» шестое чувство, чтобы не только услышать, но и почувствовать неисправности. Садитесь на водительское кресло и покрутите руль во всех направлениях. Если узел управления машиной уже сдает свои позиции, то:
- руль крутится с усилием, туго — скорее всего, нарушены углы установки колес, руль при этом не будет стоять ровно;
- руль крутится слишком легко. Не проверяйте этот пункт на скользкой дороге, потому что на льду даже при исправно работающем узле, руль крутится легко;
- руль заедает или люфтит – это означает, что пришел конец шарнирам наконечника рулевой тяги или изношен подшипник рулевого вала;
- руль вибрирует при поворотах – в этом случае также необходимо проверить подшипник рулевого вала.
Обратите внимание, что усилитель руля (если он установлен) на разных скоростях работает с разным усилием: чем выше скорость, тем легче крутится руль, и чем ниже скорость, тем труднее. На ходу автомобиль должен ехать ровно по прямой дороге и не уходить в сторону
Такой дефект также намекает на неисправность рейки
На ходу автомобиль должен ехать ровно по прямой дороге и не уходить в сторону. Такой дефект также намекает на неисправность рейки.
Внешний осмотр
![]()
Если во время движения не были обнаружены шумы, стуки и люфты, автомобиль хорошо «держал» дорогу, передняя подвеска и рулевое управление не вызвали у вас подозрений, то нет смысла самому ковыряться в наконечниках, болтах и шарнирах – скорее всего, автомобиль исправен. Однако если хоть что-то вас смутило при осмотре, то найдите возможность заглянуть под машину самостоятельно, спустившись в яму или, загнав машину на эстакаду, и посмотрите:
- нет ли подтеков масла на рейке или насосе ГУР – если рабочие жидкости текут, значит, нарушена герметичность рулевого механизма;
- имеются ли зазоры в шарнирах рулевых тяг – возможно, ослаблены крепления, это обязательно нужно проверить;
- крепко ли затянуты гайки на шарнирах;
- не должны быть видны механические повреждения.
Помимо внимания к стукам, шуму и отклонению машины от заданного курса на ходу, осмотрите колеса. Износ всех шин должен быть равномерным, все колеса должны быть отбалансированы, давление в шинах соответствует норме. Эти характеристики указывают не только на неисправности в рулевом управлении, они могут свидетельствовать об искаженной геометрии кузова, о проблемах с подвеской, со сходом-развалом и т. д., но оставить незамеченными такие повреждения нельзя!
Симптомы неисправности рулевых наконечников
Как выглядит рулевой наконечник
Перед тем, как описать основные признаки неисправности рулевых наконечников, укажем основных врагов этой детали:
- влага;
- пыль;
- ухабы и неровности дороги;
Если вывести за скобки неаккуратную и неумелую езду на автомобиле, то главной проблемой для рулевых наконечников является повреждение пыльника. Именно пыль, грязь, влага, способны в короткие сроки выводить из строя рулевой наконечник. Поэтому, осматривайте пыльники, как можно чаще, чтобы вовремя заметить их разрушение.
Если же говорить о собственно признаках неисправности рулевых наконечников, то, прежде всего это проблемы с реакцией автомобиля на движения руля. Неадекватный поворот колес, виляния машины в стороны, когда вы отпускаете руль, чересчур сильное биение в руль на ухабах и ямах, посторонние стуки и хрусты в передней части подвески, особенно при вращении руля, все это признаки того, что возможно, пришла пора менять рулевые наконечники. Хотя, у некоторых из приведенных симптомов, могут быть и другие причины, с состоянием рулевых наконечников никак не связанные.
Устранение люфта в рулевом управлении
Для регулировки рулевого управления понадобится обычный набор простых инструментов, позволяющих выполнить настройку креплений. Все работы по устранению неполадок проводятся в гараже со смотровой ямой, эстакадой, или с наличием подъемника.
Если люфтомер или ручная диагностика показали неудовлетворительные результаты, переходят к следующим действиям (потребуется помощь напарника):
Определить источник стука и проверить работу подвесок.
Попытаться подтянуть рулевую планку.
Взявшись за руль, поворачивать его из стороны в сторону в пределах свободного хода, одновременно наблюдая работу карданного вала около рейки, шаровых наконечников тяги. А также отслеживать уплотненность сопряжения штанг, которые должны точно входить одна в другую.
Если рулевая планка не повреждена, поворачивая регулировочный винт, устранить люфт в рейке.
Свободный ход в карданном вале возникает чаще всего по причине отсутствия смазки
Устранить его можно, только заменив деталь.
Люфт в месте сопряжения штанг устраняется точечной сваркой, которая сдерживает детали во время работы.
Отремонтировать или заменить шаровые наконечники, если есть необходимость.
Особое внимание уделить исправности наконечников и целостности резиновых пыльников.
Проверить, устранен ли люфт рулевого колеса.
Если все действия не привели к желаемому результату, остается только полностью разобрать рулевой механизм, чтобы определить, какие детали вышли со строя и заменить их.
Симптомы неисправностей
Если не обращать внимания на износ наконечников рулевых тяг, то шаровой палец разболтается и выскочит из гнезда на первом приличном ухабе. Чем это чревато, долго пояснять не нужно: колесо станет неуправляемым, а водитель потеряет контроль над машиной. Как определить, что с шарнирами возникли проблемы и требуется проверка ходовой части авто:
- первый признак – глухой частый стук при езде по мелким ухабам, особенно в поворотах;
- как правило, посторонние звуки доносятся с одной стороны, но случается и одновременный износ двух наконечников;
- увеличивается свободный ход рулевого колеса;
- преодолевая поворот на неровной дороге, можно ощутить постукивание на руле;
- на последней стадии износа наконечников автомобиль приходится буквально «ловить» на дороге, поскольку из-за люфта шаровых пальцев колеса могут отклоняться на 2–3° от прямой.
Примечание. К сожалению, подобные признаки наблюдаются не только в результате неполадок рулевой рейки, но и в результате износа подшипника поворотной сошки и маятника. Точный результат покажет проверка, выполняемая сотрудниками автосервиса или самостоятельно в гаражных условиях.
Если вы обнаружили на собственном автомобиле один из перечисленных симптомов, не следует тянуть с диагностикой. Особенно если наконечники отслужили более 40 тыс. км пробега. Для выполнения проверки потребуется смотровая канава, вывешивание автомобиля на домкрате не даст возможности раскачивать тягу в нужном направлении.
Чтобы самостоятельно проверить рулевые наконечники, воспользуйтесь пошаговой инструкцией:
- Загоните машину ровно по центру смотровой ямы, чтобы свободно дотягиваться до шарниров. Если канава слишком узкая, автомобиль придется дважды переставлять со смещением в разные стороны.
- Подоприте задние колеса противооткатными средствами.
- Возьмитесь рукой за тягу максимально близко к наконечнику. Раскачивайте шарнир по направлению вверх-вниз, дабы ощутить люфт.
- Небольшое упругое сопротивление указывает на работу пружины и отсутствие критических зазоров. Значительный люфт чувствуется сразу.
- Поверните тягу несколько раз вокруг собственной оси. Если она подается легко, буквально болтается на шаровом пальце, наконечник следует заменить.
Совет. Раскачивая тягу, не перепутайте люфт шарнира со свободным ходом рулевой рейки или разбитым подшипником маятника.
Для проверки целостности пыльников смотровая яма не нужна. Достаточно вывернуть колесо и приподнять машину домкратом. Дырка в резиновом чехле обнаруживается благодаря густой смазке, которая выдавливается изнутри через порыв.
Замена рулевого наконечника тоже не составляет большой проблемы, из специальных приспособлений понадобится только съемник для выталкивания шарового пальца из проушины поворотного кулака. Учтите важный нюанс: после замены тяги обязательно корректируются углы развала – схождения колес. Своими руками регулировку вам не выполнить, так что придется посетить автосервис.
Первичный осмотр
Очень важно изредка выполнять осмотр не только внешнего состояния автомобиля, но и заглядывать под него. Таким образом, можно своевременно предупредить поломку какой-либо детали или узла в целом
Такая проверка не займет много времени и сил, и для этого не обязательно быть знатоком в автомобилях. Чтобы определить неисправность, лучше попросить знакомого вам помочь, так как для определения наличия люфта нужно два человека. Помимо этого можно проверить деталь на наличие механических повреждений.
Чтобы выполнить первичный осмотр рулевых наконечников нужно выполнить следующее:
Рулевая тяга и наконечники изначально недоступны, так как находится на днище авто. Для более тщательного осмотра необходимо загнать машину на смотровую яму. Это создаст более открытый доступ ко всем элементам подвески, днища и, в том числе, позволит качественнее проверить рулевой наконечник. Если нет возможности воспользоваться ямой, то можно применить домкрат, но только для поднятия авто. Для повышения безопасности используйте подставочные опоры (пеньки).
Нужно с помощью ветоши протереть детали от всякого налета, это позволит рассмотреть поверхность на наличие дефектов
Также нужно уделить внимание крепежным местам, так как именно в соединениях чаще всего может таиться неисправность.
В основном первой деталью, которая приходит в непригодность считается пыльник. Поэтому следует проверить его на наличие трещин.
Чтобы проверить люфт нужно, чтобы помощник покрутил руль в обе стороны, а вы при этом наблюдаете за работой наконечников
Если наконечник перемещается вдоль оси пальца более чем на полтора миллиметра, то это свидетельствует о том, что рулевой наконечник неисправный.
Неисправность может быть где угодно, при проверке нужно быть максимально внимательными. После осмотра одной из сторон, нужно проверить вторую.
При желании, раз уж вы под автомобилем, выполните диагностику и других не маловажных узлов и деталей. При необходимости некоторые из них можно смазать или же срочно заменить.
По каким признакам можно определить неисправность рулевых наконечников?
Основным из них является биение и ощутимая вибрация рулевого колеса. Это связано с тем, что элемент полностью исчерпал свой ресурс, находится в неисправном состоянии, и нуждается в замене. Однако, этот признак может указывать и на наличие других проблем с рулевым управлением или ходовой частью автомобиля. В случае возникновения подозрений относительно исправности детали, необходимо выполнить простое тестирование, проведение которого поможет подтвердить, либо опровергнуть их.
Признаки неисправности рулевых наконечников распознать довольно просто. Например, при движении начинает появляться характерный звук, больше похожий на стук. Зачастую он усиливается при вхождении в поворот, разгоне, резком торможении, езде по дороге с неудовлетворительным состоянием покрытия. Если же стук по прежнему продолжает присутствовать, при этом с каждым разом увеличивается его величина, необходимо немедленно провести диагностику рулевой системы автомобиля, в частности проверить наконечники, чтобы оценить степень износа их шарнирных соединений.
В завершении можно сказать следующее: поскольку деталь относится к расходным элементам транспортного средства, для поддержания его системы управления в исправном состоянии и обеспечения корректности работы, не следует дожидаться регламентного срока ее замены. Наконечник рулевой тяги выйдет из строя, чем создаст определенные проблемы.
Одной из самых важных частей рулевого механизма являются тяги и любые неполадки этих деталей могут спровоцировать отказ руля прямо во время движения и привести к серьезному ДТП. Состояние рулевых тяг нужно проверять регулярно, а при первых признаках неисправностей, выполнять замену или же ремонт деталей. Благодаря своевременной замене рулевых тяг можно предотвратить аварийную ситуацию на дороге.
Рулевые тяги передают усилие к поворотным рычагам от рулевого колеса, они также служат частью рулевой трапеции, которая определяет угол поворота колеса. Рулевые тяги представляют собой металлические стержни, которые достаточно сложно повредить, но можно согнуть, зацепив о какое-либо препятствие на дороге.
Неисправности рулевых тяг могут возникнуть из-за шарниров, шплинта, втулок, пыльника, чехла шарнира или же других деталей. Шарниры находятся на концах рулевых тяг, изнашивание вкладыша или поверхности пальца – наиболее частая причина поломки шарнира. Шплинт служит для фиксации корончатой гайки, неправильный монтаж которой может стать причиной потери управления автомобиля. В том случае, если порвался пыльник, или же сместился чехол, шарнир очень быстро загрязняется, что приводит к быстрому износу. Втулка может быть повреждена от коррозии, или по причине поездок по плохим участкам дороги.
Своевременно определить неисправность поможет внимательное отношение к тому, как автомобиль ведет себя на дороге, свободный ход руля или же появление посторонних звуков – первые признаки неполадок шарниров. Если автомобиль отклоняется от выбранной линии движения, это говорит об износе наконечников. Большинство рулевых тяг не подлежат ремонту, только их замена обеспечит полную гарантию и уверенность в автомобиле.
Провести диагностику и ремонт автомобиля в Твери можно в автосервисе «Колесо .69» наши квалифицированные специалисты выполнят всю работу качественно и в указанный срок. Современное оборудование позволяет быстро и точно провести диагностику и ремонт любой сложности.
За поворот передних колес автомобиля отвечает рейка либо редукторный механизм. Агрегат одновременно передает усилие обоим поворотным кулакам посредством тяг с шарнирами на концах. Эти 2 детали являются слабым звеном системы управления – срок службы составляет 20–80 тыс. км в зависимости от марки машины и условий эксплуатации. Автолюбителям стоит научиться вовремя различать признаки неисправности рулевых наконечников, поскольку их техническое состояние напрямую связано с безопасностью пассажиров.
Рулевая тяга автомобиля
Рулевое управление автомобиля является основой безопасного вождения. Его неисправности подлежат безусловному устранению в кратчайшие сроки. Нарушения в работе рулевого управления являются бомбой замедленного действия, которая может сработать в любой момент.
Система управления автомобиля имеет достаточно сложное техническое устройство. Она обеспечивает своевременное маневрирование транспортного средства в зависимости от текущей дорожной обстановки.
Игнорировать проблемы, возникающие с управлением машины, не стоит. От этого зависит безопасность и жизнь водителями с пассажирами. Экономить на её ремонте не стоит и чревато тяжёлыми последствиями. Автомобиль, потерявший управление подобен шальной пуле мчащейся навстречу катастрофе.
Очень часто последствия неисправности рулевого управления транспортного средства бывают очень страшными и трагическими. Они вызвали гибель не одного десятка человек на дорогах страны. Не нужно повторять трагические ошибки других людей.
Для чего нужно рулевая тяга в автомобиле?
Рулевая тяга считается одним из центральных элементов системы управления транспортного средства.
Она выполняет две важные функции:
1.Передача физического усилия от руля к поворотным рычагам ступиц колёс
Последние при повороте руля водителем меняют направление движения автомобиля за счёт поворота колёс
2.Обеспечение необходимого радиуса поворота ведущих колёс
Радиус движения колёс транспортного средства при повороте неодинаков. Именно рулевая тяга отвечает за предотвращение скольжения колёс при прохождении поворота автомобилем. Внешнее колесо должно иметь меньший угол поворота, наружное колесо больший угол поворота.
Несмотря на довольно скромные размеры, рулевая тяга выполняет важные функции, от которых зависит степень манёвренности транспортного средства и безопасность движения.
Главная причина неисправности рулевой тяги
Активное использование автомобиля неизменно оказывает серьёзную нагрузку на подвеску. Особенно это касается поездок по грунтовым или полевым дорогам. Даже самый качественный и надёжный элемент, такой как рулевая тяга, может изнашиваться и прийти в негодность.
Это вас точно заинтересует Опасны ли автопилоты современных автомобилей?
Этот момент необходимо учитывать и быть готовым выполнить ремонтные работы за максимально короткий промежуток времени. Конструкция рулевой тяги проста и незамысловата.
Наиболее уязвимой частью рулевой тяги являются шарниры. Они защищены от внешних негативных факторов резиновым пыльником. Если его целостность нарушается, пыль и грязь, попадая на шарниры тяги, выводят их из строя. Они не могут полноценно выполнять свои функции и требуют обязательной замены.
Непосредственно рулевая тяга может получить повреждения только после встречи колеса с глубокой ямой или большим камнем. Сильный удар ведёт к её искривлению, и основные функции оказываются нарушены.
Когда нужно менять рулевую тягу?
Опытный водитель по поведению автомобиля на дороге и посторонним звукам, издаваемым подвеской способен определить необходимость замены рулевой тяги. Необходимо помнить, что только детальный осмотр на подъёмнике подвески автомобиля даст возможность точно установить неисправность рулевой тяги.
Можно выделить следующие признаки необходимости замены рулевой тяги:
1.При движении автомобиля в передней части издаются посторонние звуки и стуки;
Это вас точно заинтересует Картер двигателя: назначение и особенности
2.Появилось биение руля;
3.Увеличился люфт руля;
4.Ведущие колёса вращаются с усилием;
5.Автомобиль при движении тянет в левую или правую сторону.
Заключение
Появление этих признаков неисправности рулевой тяги должно насторожить водителя. Самостоятельно выполнять замену рулевой тяги без опыта крайне не рекомендуется. В этом случае ремонтные работы необходимо доверить профессионалам, которые смогут их выполнять быстро и качественно.
Спасибо за внимание, удачи вам на дорогах. Читайте, комментируйте и задавайте вопросы
Подписывайтесь на свежие и интересные статьи сайта.





























